Categoria: Auto e Moto
-
Nissan Xterra SUV retornando oficialmente – e aqui está sua primeira olhada
O Xterra está de volta e desta vez é oficial O Nissan Xterra já se foi há tempo suficiente para parecer que pertence a uma era diferente de…
-
Os únicos vencedores de vendas da Audi nos EUA são os sedãs, já que as vendas caem 30%
Audi as vendas ainda estão em declínio nos Estados Unidos depois de alguns anos decepcionantes. A empresa vendeu 14% menos veículos em 2024 e viu outra queda de…
-
2027 Polestar 2: O preço inicial sobe com redução do nível base
O Estrela Polar 2 a linha encolheu ligeiramente para o ano modelo 2027 (MY27), com o nível básico de ‘motor único de gama padrão’ agora descontinuado. A Polestar…
-
Preço do Chevy Corvette 2027 revelado com grandes mudanças – Grand Sport começa em US$ 88.495
O C8 entra em sua reta final O Chevy Corvette C8 agitou as coisas em 2020 ao mover o motor atrás do motorista. Essa única mudança transformou a…
-
2027 Mercedes EQS estreia com alcance de 575 milhas, direção Yoke e nova grade ousada
No início do ano, 2027 Mercedes-Benz Classe S foi reveladoe é uma máquina elegante movida a combustão com tecnologia brilhante. Embora um Classe S totalmente elétrico seja eventualmente…
-
CEO da VW admite ID.3 e ID.4 ‘não são verdadeiros Volkswagens’
Não dando socos VolkswagenO atual CEO da empresa, Thomas Schäfer, está bem ciente dos problemas e erros que a empresa cometeu ao longo dos anos. Os clientes lamentaram…
-
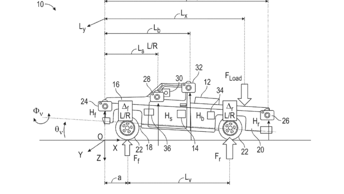
GM explora tecnologia que avisa quando seu caminhão é carregado da maneira errada
GM está observando o peso A General Motors registrou um pedido de patente para um sistema de detecção projetado para identificar carregamentos inadequados. O sistema usaria componentes adicionais,…
-
2026 Jeep Wrangler e Gladiator Rewind Editions Canal Nostalgia dos anos 90
Jipe lançou edições especiais nostálgicas do Disputador SUV e Gladiador caminhonete. Conhecidas como edições especiais Rewind, elas são inspiradas no Conceito de Páscoa Jeep Safari mostrado anteriormente pela…
-
O caminhão elétrico Rivian R1T de 7.000 libras pode vencer um Corvette Z06?
EVs vs Supercarros, Novamente Com veículos elétricos como o Xadrez Tesla Modelo S dominando as corridas de quarto de milha, tornou-se amplamente aceito que os VEs podem acompanhar…
-
Por que a Porsche construiu este Mercedes – e por que ele voltou à exibição
Colaboração Alemã Agora é muito comum as marcas automotivas trabalharem juntas; vemos coisas como Porsche e Audi assinar acordos para compartilhar plataformas, tecnologia e, provavelmente, pessoas, para desenvolver…










